Холодильник Ока 3М — это одна из самых популярных моделей холодильников, которая широко используется в бытовых условиях. Он отличается своей надежностью и простотой в использовании. Для правильной работы и долговечности холодильника необходимо знать его электрическую схему.
Основными элементами электрической схемы холодильника Ока 3М являются компрессор, конденсатор, испаритель, термостат, вентилятор охлаждения и светильник. Компрессор отвечает за создание давления в системе и циркуляцию хладагента, который охлаждает камеру холодильника. Конденсатор выполняет функцию охлаждения горячего газа, который поступает из компрессора. Испаритель отвечает за испарение хладагента и создание холода внутри холодильника.
Для управления работой холодильника используется термостат, который включает и выключает компрессор в зависимости от заданной температуры. Вентилятор охлаждения обеспечивает постоянную циркуляцию воздуха внутри холодильника и предотвращает образование конденсата. Светильник освещает камеру холодильника и включается при открытии дверцы.
Электрическая схема холодильника Ока 3М является основой его работы. Правильное понимание и умение соблюдать эксплуатационные требования помогут сохранить его работу на долгие годы.
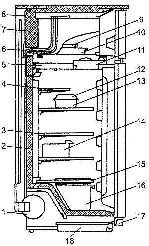
Основные компоненты холодильника Ока 3М
Компрессор
Один из главных компонентов холодильника — компрессор. Он отвечает за создание необходимого давления в системе, что позволяет охлаждать воздух внутри холодильника. Компрессор работает на электрическую энергию и является основным источником шума при работе холодильника.
Конденсатор
Конденсатор служит для конденсации газообразного хладагента, который циркулирует в системе холодильника. При контакте с более холодными поверхностями конденсатор переводит хладагент в жидкое состояние, что в свою очередь позволяет отводить тепло изнутри холодильника и поддерживать низкую температуру.
Испаритель
Испаритель является противоположностью конденсатора — он отвечает за испарение жидкого хладагента в газообразное состояние. Процесс испарения поглощает тепло изнутри холодильника, что способствует охлаждению его внутреннего пространства.
Термостат
Термостат — это устройство, которое отвечает за регулировку температуры внутри холодильника. Он включает и выключает компрессор в зависимости от заданной температуры, что позволяет поддерживать постоянный холод внутри холодильника.
| Название компонента | Описание |
|---|---|
| Компрессор | Создает давление в системе холодильника и отвечает за охлаждение воздуха |
| Конденсатор | Конденсирует газообразный хладагент, отводит тепло изнутри холодильника |
| Испаритель | Испаряет жидкий хладагент, поглощая тепло и охлаждая холодильник |
| Термостат | Регулирует температуру внутри холодильника путем включения и выключения компрессора |
Термостат и его работа
В холодильнике Ока 3М используется биметаллический термостат, состоящий из двух различных по свойствам металлических полосок, склеенных между собой. Один конец термостата закреплен на корпусе холодильника, а другой конец на подвижной контактной пластине.
Когда температура в холодильной камере достигает установленного значения, металл начинает расширяться. Под действием этого расширения подвижная контактная пластина смещается, открывая электрический цепь и отключая электродвигатель компрессора. Таким образом, остановка компрессора позволяет поддерживать заданную температуру в холодильной камере.
Когда температура в холодильной камере снижается ниже установленного значения, металл начинает сжиматься. Подвижная контактная пластина возвращается в исходное положение, замыкая электрическую цепь и включая электродвигатель компрессора. Это позволяет восстановить охлаждение и поддерживать оптимальную температуру внутри холодильника.
Таким образом, термостат выполняет важную функцию регулирования работы холодильника Ока 3М, обеспечивая поддержание оптимальной температуры внутри холодильной камеры и предотвращая перегрев или замерзание продуктов.
Компрессор и его функции
Основными функциями компрессора являются:
- Сжатие рабочего фреона: Компрессор принимает низкотемпературный и низкодавление фреон из испарителя и сжимает его до высокого давления. В результате сжатия, температура фреона значительно повышается.
- Перемещение фреона: Сжатый фреон покидает компрессор под высоким давлением и направляется в конденсатор для дальнейшего охлаждения.
- Создание различных зон давления: Компрессор способен создавать разные зоны давления в системе холодильника, что позволяет поддерживать нужную температуру внутри холодильной камеры.
Компрессор работает на электрической энергии, которая передается через соответствующие контакты. Он оснащен электродвигателем, который запускает процесс сжатия фреона.
Устройство и принцип работы компрессора

Компрессор состоит из нескольких основных частей:
| Именно в цилиндре осуществляется сжатие фреона. Поршень движется вверх и вниз, создавая давление. | |
| Электродвигатель компрессора преобразует электрическую энергию в механическую, что позволяет запускать движение поршня. | |
| Компрессор оборудован клапанами, которые позволяют движению фреона только в одном направлении. Они предотвращают обратный поток и обеспечивают правильное направление циркуляции фреона. |
Принцип работы компрессора заключается в том, что электродвигатель запускает движение поршня в цилиндре. При движении поршня вниз, происходит всасывание фреона. При дальнейшем движении вверх, происходит сжатие фреона и выход сжатого фреона из компрессора.
Контрольные лампы и их назначение
Лампа Питание
Назначение: Контролирует наличие питания в холодильнике.
Работа лампы: Если лампа Питание не горит, то это может означать отсутствие питания или неисправность электрической цепи, препятствующей подаче питания. В этом случае рекомендуется проверить подключение холодильника к источнику питания и проверить состояние предохранителей.
Примечание: Если у вас неисправен холодильник Ока 3М, и лампа Питание не горит, то следует обратиться к специалистам для проведения диагностики и ремонта.
Лампа Работа
Назначение: Индицирует, что холодильник находится в рабочем состоянии.
Работа лампы: Когда холодильник работает, лампа Работа должна гореть. Если лампа не горит, то это может указывать на неисправность питания, компрессора или других систем холодильника. В таком случае следует обратиться к специалисту для проверки и ремонта холодильника.
Вентилятор и его роль
Основная функция вентилятора заключается в том, что благодаря его работе, холодный воздух равномерно распределяется по всей камере. Вентилятор создает поток прохладного воздуха, который обдувает продукты, помогая ускорить их охлаждение. Это позволяет достичь более стабильной температуры внутри холодильника и сохранить продукты свежими на длительный срок.
Для включения вентилятора используется специальный датчик, который мониторит температуру внутри камеры. Когда температура превышает заданный предел, вентилятор автоматически включается и начинает обдувать камеру прохладным воздухом.
Преимущества работы вентилятора:

- Улучшение равномерности охлаждения продуктов внутри холодильной камеры.
- Повышение скорости охлаждения продуктов.
- Снижение вероятности перегрева и повреждения электронных компонентов.
Работа вентилятора в электрической схеме:
Вентилятор подключен к блоку управления холодильником и принимает сигналы о необходимости работы. Когда срабатывает датчик температуры и требуется охлаждение, вентилятор активируется и начинает работать.
Для более эффективной работы вентилятора, важно регулярно очищать и обслуживать его. Накопление пыли и грязи на вентиляторе может привести к снижению его производительности и возможным поломкам.
| Преимущества | Работа в схеме |
|---|---|
| Улучшение равномерности охлаждения продуктов | Включение вентилятора при превышении заданной температуры |
| Повышение скорости охлаждения продуктов | Обеспечение циркуляции воздуха в холодильной камере |
| Снижение вероятности перегрева и повреждения электронных компонентов | Автоматическое выключение вентилятора при достижении оптимальной температуры |
Работа электрической цепи холодильника
Электрическая цепь холодильника Ока 3М отвечает за правильную работу всего устройства. Она обеспечивает передачу электрического тока от источника питания к различным компонентам холодильника, которые необходимы для охлаждения.
Первым компонентом электрической цепи является блок питания, который подключен к сети переменного тока. Он конвертирует высокое напряжение переменного тока в низкое напряжение постоянного тока, которое необходимо для работы холодильника.
Далее электрический ток проходит через предохранитель, который защищает цепь от короткого замыкания и перегрузок. При возникновении проблемы предохранитель автоматически отключает цепь, что предотвращает повреждение компонентов и возможное возникновение пожара.
Передача электрического тока от блока питания к компрессору осуществляется через реле. Реле является электромеханическим устройством, которое открывает и закрывает контакты для передачи тока. В случае с холодильником, реле открывает контакты и подает электричество на компрессор, когда необходимо охладить холодильную камеру.
Компрессор является одним из ключевых компонентов холодильника. Он отвечает за циркуляцию хладагента и создание холодильного эффекта. При подаче электрического тока на компрессор, он начинает работать, создавая большое давление в герметично закрытой системе. Это приводит к сжатию газообразного хладагента, который затем переходит в жидкую фазу.
Жидкий хладагент проходит через испаритель, где происходит его испарение. В результате испарения хладагент поглощает тепло изнутри холодильной камеры, что ведет к снижению температуры. Парообразный хладагент затем попадает в компрессор, где процесс сжатия повторяется.
Таким образом, благодаря работе электрической цепи холодильника Ока 3М, происходит постепенное охлаждение внутренней области устройства, сохраняя продукты свежими и долговечными.
Питание холодильника и его регулировка
Холодильник Ока 3М оснащен электрической схемой, которая обеспечивает его работу. Питание холодильника осуществляется от автомобильной электрической сети напряжением 12 В. Для этого используется аккумулятор автомобиля, который подключается к холодильнику с помощью специального кабеля.
Регулировка температуры
На холодильнике Ока 3М есть регулятор температуры, который позволяет установить необходимую степень охлаждения. Для этого регулятор должен быть повернут в соответствии с требуемой температурой. При этом необходимо учитывать, что более высокие значения регулятора означают более низкую температуру охлаждения и наоборот.
Регулировка температуры важна для обеспечения правильной работы холодильника. Слишком низкая температура может привести к замерзанию продуктов, а слишком высокая — к недостаточному охлаждению.
Кроме того, регулировка температуры позволяет экономить энергию, которая требуется для работы холодильника. Если холодильник работает на максимальной мощности, то потребление электроэнергии будет выше, чем при работе на минимальной мощности.
Питание холодильника в пути
Холодильник Ока 3М можно использовать в пути при движении на автомобиле. В этом случае питание холодильника осуществляется от аккумулятора автомобиля. Для этого необходимо подключить холодильник к аккумулятору с помощью специального кабеля, который идет в комплекте.
Перед использованием холодильника в пути необходимо проверить состояние аккумулятора. Если его заряд низкий, то возможно потребуется дополнительное питание от источника энергии автомобиля или использование портативного генератора.
- Проверяйте уровень заряда аккумулятора перед поездкой.
- Подключите холодильник к аккумулятору с помощью кабеля.
- Установите необходимую температуру с помощью регулятора.
- Убедитесь, что холодильник работает исправно и охлаждает продукты.
Правильное питание и регулировка холодильника Ока 3М позволяют обеспечить его эффективную работу в течение всей поездки.
Работа компрессора и параметры мотора
Мотор компрессора в холодильнике Ока 3М имеет следующие параметры:
- Мощность: мотор имеет мощность 70 Вт.
- Частота вращения: мотор вращается со скоростью 3000 оборотов в минуту.
- Напряжение: для работы мотора требуется напряжение 220 В.
- Ток: мотор потребляет ток порядка 0,32 А.
Работа компрессора включает в себя несколько этапов. В начале компрессор создает давление в системе, откачивая все газообразное вещество, которое находится в холодильнике. После этого он сжимает газ до высокого давления. Затем горячий и сжатый газ передается в конденсатор, где происходит его охлаждение и конденсация в жидкость. Далее жидкость под давлением проходит через устройство расширения, где происходит снижение давления. И, наконец, холодная жидкость попадает в испаритель, где происходит испарение и выделение холода, который охлаждает отсек холодильника.
Таким образом, работа компрессора и параметры мотора являются важными элементами работы холодильника Ока 3М, обеспечивая его эффективную и надежную работу.
Возможные неисправности и их устранение
При эксплуатации холодильника Ока 3М возможны следующие неисправности:
- Холодильник не работает
- Проверьте подключение к электрической сети.
- Убедитесь, что розетка исправна.
- Проверьте состояние предохранителя.
- Проверьте включенный режим работы холодильника.
- Холодильник не охлаждает
- Убедитесь, что дверца холодильника плотно закрыта.
- Проверьте уровень температуры настроек.
- Очистите и проверьте конденсаторную катушку от пыли и грязи.
- Проверьте состояние и работоспособность компрессора.
- Холодильник шумит
- Убедитесь, что холодильник установлен на ровной поверхности.
- Проверьте, что холодильник свободно стоит от стен и других предметов.
- Проверьте состояние вентилятора и произведите его очистку.
- Проверьте состояние компрессора и замените его при необходимости.
- Холодильник нагревается
- Убедитесь, что дверца холодильника плотно закрыта.
- Проверьте уровень температуры настроек.
- Очистите и проверьте конденсаторную катушку от пыли и грязи.
- Проверьте состояние и работоспособность компрессора.
Если проблемы не исчезли после выполнения указанных рекомендаций, рекомендуется обратиться к специалистам для диагностики и ремонта холодильника Ока 3М.
Роль реле и его взаимодействие с другими компонентами
В электрической схеме холодильника Ока 3М реле играет важную роль. Оно выполняет функцию защиты от перегрузки и контролирует работу компрессора.
Реле-перегрузка служит для защиты компрессора от перегрузки и перегрева. Когда ток через компрессор становится слишком большим, реле-перегрузка срабатывает и разрывает электрическую цепь к компрессору, предотвращая его повреждение. При перегреве или слишком высокой температуре компрессора, реле-перегрузка также может отключить его.
Реле-таймер контролирует работу компрессора и регулирует его циклы. Оно включает компрессор на некоторое время, чтобы охладить камеру холодильника, а затем отключает его, чтобы предотвратить перегрев и снизить энергопотребление. Реле-таймер также может отключать компрессор на время, чтобы предотвратить его повторные включения, что помогает увеличить срок службы компрессора.
Взаимодействие с термостатом
Реле также взаимодействует с термостатом, который контролирует температуру внутри холодильника. Если термостат обнаруживает, что температура стала выше заданной, он активирует реле и включает компрессор для охлаждения. Когда достигается нужная температура, термостат выключает реле, и компрессор отключается. Этот процесс повторяется в зависимости от изменения температуры внутри холодильника.
Взаимодействие с вентилятором
Реле также может взаимодействовать с вентилятором холодильника. Когда компрессор включается, реле может активировать вентилятор для улучшения циркуляции воздуха и равномерного распределения холодного воздуха внутри холодильника. Это позволяет улучшить процесс охлаждения и сохранить продукты свежими на более долгий срок.
Проверка работы системы замораживания
- Убедитесь, что холодильник подключен к электрической сети и включен. Откройте дверцу холодильника и проверьте, насколько хорошо он охлаждает. Если холодильник не охлаждает или охлаждает недостаточно, возможно, система замораживания не работает.
- Проверьте, есть ли наледь или лед на задней стенке холодильника. Если на задней стенке холодильника есть наледь или лед, это означает, что система замораживания работает неправильно или не работает вообще. В таком случае, рекомендуется обратиться к специалисту для ремонта.
- Проверьте, работает ли автоматическая размораживание. Если холодильник не образует льда или наледи на задней стенке в течение продолжительного времени, это может быть вызвано неправильной работой системы автоматической разморозки. Убедитесь, что автоматическая разморозка включена и функционирует должным образом.
- Проверьте температуру внутри холодильника. Используйте термометр, чтобы измерить температуру в разных частях холодильника. Температура в морозильной камере должна быть около -18°C, а в холодильной камере – около +4°C. Если температура существенно отличается от указанных значений, это может указывать на проблемы с системой замораживания.
Если при выполнении этих шагов вы заметили какие-либо неисправности или проблемы с работой системы замораживания, рекомендуется обратиться к квалифицированному специалисту для диагностики и ремонта. Регулярная проверка и обслуживание системы замораживания поможет вам сохранить оптимальную работу холодильника Ока 3М и продлить его срок службы.
Часто задаваемые вопросы о холодильнике Ока 3М
Ниже приведены некоторые часто задаваемые вопросы о холодильнике Ока 3М:
1. Какой тип холодильника Ока 3М?
Холодильник Ока 3М относится к типу однокамерных холодильников. Внутри холодильника есть только одна камера, которая предназначена для хранения продуктов при низкой температуре.
2. Какая мощность у холодильника Ока 3М?
Мощность холодильника Ока 3М составляет примерно 80 Вт. Это обеспечивает достаточное охлаждение продуктов и поддержание низкой температуры внутри камеры.
3. Какие размеры холодильника Ока 3М?
Холодильник Ока 3М имеет компактные размеры, которые позволяют установить его в небольших кухонных пространствах. Обычно его размеры составляют примерно 85 см в высоту, 50 см в ширину и 55 см в глубину.
4. Насколько энергоэффективен холодильник Ока 3М?
Холодильник Ока 3М относится к энергоэффективным моделям и имеет класс энергопотребления A+. Это означает, что он потребляет небольшое количество энергии и способен сохранять низкую температуру внутри камеры на длительный период времени, экономя электроэнергию.
5. Как использовать размораживание в холодильнике Ока 3М?
Холодильник Ока 3М оснащен автоматической системой размораживания, которая позволяет избавиться от образования льда внутри камеры. Для активации размораживания необходимо нажать на специальную кнопку на панели управления холодильника.
Надеемся, что эти ответы помогут вам разобраться с некоторыми вопросами, связанными с холодильником Ока 3М. Если у вас возникнут еще какие-либо вопросы, пожалуйста, свяжитесь с нами.